Back in May, GoPro (GPRO +1.23%) dropped a bomb on investors by delaying its Karma drone from the first half of the year to the holidays. The Karma was expected to be GoPro's only meaningful revenue driver for the first half of the year, and its abrupt delay indicated that the Karma could struggle to compete against entrenched players like DJI.
DJI's new Phantom 4 drone. Image source: DJI.
During the conference call in May (as transcribed by Thomson Reuters), CEO Nick Woodman stated that "as late as this week, we believed Karma's launch was on schedule." [Emphasis mine.] Woodman's only explanation was that the Karma included "revolutionary features that differentiate it from other drones" and thus couldn't be launched in time.
That delay ignited a fierce debate between the bulls and the bears. The bulls believed that the Karma's "revolutionary features" would turn the drone market upside-down. The bears believed that GoPro ran into last-minute bugs or production delays -- or simply realized that the Karma couldn't effectively compete against existing products.
Picking a side in this debate was tough, since GoPro has only released two teaser videos for the drone without revealing the drone's appearance or technical specs. However, Ryan Goldstein, a GoPro employee who works on drones, recently filed a patent application that may have revealed what the Karma actually looks like.
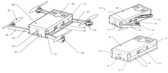
Is the "QuadBox" the Karma?
Goldstein's design, dubbed the QuadBox, is a drone that folds into a self-enclosed rectangular box. The propellers can be removed and stored in small compartment in the body. This form factor would presumably be easier to carry than larger DJI drones. The patent filing also includes cylindrical and spherical designs. The camera would be mounted on top, confirming Woodman's statement during CES 2016 that the Karma will be "backwards compatible" with older GoPro devices.
Image source: U.S. Patent Office.
It's unclear if the QuadBox is Goldstein's own design or if it is in fact GoPro's Karma. Goldstein first published the QuadBox design on his website in early 2015, before he was employed by GoPro. GoPro hired Goldstein last May as a mechanical engineer for its new Aerial Products division and revealed that it was developing a drone just a month later.
GoPro started pivoting toward drones for two reasons. First, DJI, the biggest drone maker in the world, replaced GoPro mounts on its drones with its own cameras. Second, sales of its action cameras have been slowing because of a lack of new flagship products, rising competition, and an inability to reach mainstream consumers.
GoPro has become a follower, not an innovator
If the QuadBox is actually the Karma, it's yet another indicator that GoPro has run out of fresh ideas. GoPro's VR rigs are clones of older third-party solutions, its development of a spherical camera is just a response to other stand-alone 360-degree devices, and it only started developing a drone two years after DJI launched its first Phantom.
The QuadBox also isn't an entirely unique idea. In early 2014, AirDroids launched a Kickstarter campaign for the Pocket Drone, a $500 GoPro-compatible tricopter that could be folded into a compact carrying case. However, poor reviews revealed multiple problems with the device, and AirDroids shut down last May.
AirDroid's Pocket Drone. Image via Kickstarter.
Some bulls might argue that GoPro's brand strength can help it enter the market later with a superior or disruptive product. However, GoPro isn't Apple (AAPL +0.87%) in that department, and the failure of the Session last year revealed just how badly it overestimated its own brand appeal.
The drone market also isn't an easy one to break into. Apple is already backing DJI's Phantom 4 with big "feature bay" displays at over 400 of its brick-and-mortar stores, which could make it tough for GoPro's Karma to make a meaningful impact this holiday season. Xiaomi recently launched a 4K drone that costs $50 less than GoPro's Hero 4 Black camera, indicating that price expectations could drop significantly by the holidays.
Why GoPro investors should worry
DJI spent a decade developing its drone technology and currently employs about 5,000 people worldwide, compared to GoPro's 1,500 employees at the end of 2015. To catch up, GoPro hired a handful of experts like Goldstein and Pablo Lema from 3D Robotics last year and then declared that it would launch a drone by the first half of 2016.
That hasty plan underestimated the time and R&D that DJI invested in its drones, as we saw when GoPro abruptly delayed the product. If the QuadBox is the Karma, it would mean that GoPro simply looked for unique quadcopter designs and hired the creator instead of developing one from scratch for GoPro users.
That (arguably lazy) approach bothers me because GoPro needs the Karma and Hero 5 to boost sales by 37% to 83% annually during the fourth quarter to hit its full-year forecast of $1.3 billion to $1.5 billion -- which would still represent a 6% to 19% decline from 2015.





