Apple (AAPL 1.21%) just opened the doors to its brand-new Steve Jobs Theater for the first time to host its annual iPhone event. This was an important milestone for Apple, as it has been a decade since the original iPhone launched in 2007.
Here are the three most important products that Apple unveiled today.
Image source: Apple.
Apple Watch Series 3
The Apple Watch Series 3 is here, and the biggest new addition is built-in cellular connectivity. Series 3 is getting a handful of spec bumps, including a faster dual-core processor and a new W2 chip that handles wireless connections. Apple says the W2 chip delivers 85% faster Wi-Fi while being 50% more power efficient. The faster processor allows Siri on Apple Watch to now speak to users; Siri's interface was primarily text-based in previous generations of Apple Watch.
Apple Watch Series 3. Image source: Apple.
The case size is the same as Series 2, despite having to pack in all the necessary cellular components like a baseband modem, power amplifiers, and an electronic SIM card. The bulge on the rear is imperceptibly thicker (equivalent to two sheets of paper). The only other aesthetic change is that the Digital Crown is now bright red on the side (Apple didn't explain why).
With cellular connectivity, Apple Watch can make phone calls independently of the iPhone (the phone number is the same as your iPhone). That also means users can stream Apple Music directly to the Apple Watch independently of the iPhone. Oddly, Apple will offer a version of Series 3 without cellular connectivity (essentially just getting the internal spec bumps) starting at the $329 price point. Adding cellular bumps the starting price up to $399.
Apple Watch Series 3 will be available for pre-order on Sept. 15 and ship on Sept. 22.
iPhone 8 and 8 Plus
The iPhone 8 and 8 Plus are the phone models that received modest spec bumps. The display sizes are unchanged at 4.7-inch and 5.5-inch, respectively. They sport a very similar overall design that Apple has used for the past three years in the iPhone 6, 6s, and 7, with the primary change being a glass back framed by reinforced steel.
iPhone 8 and 8 Plus look very similar to last year's iPhone 7 and 7 Plus. Image source: Apple.
That glass back enables wireless charging, and Apple is adopting the dominant Qi standard. There have been reports that Apple will be using an older version of Qi that charges at a slower rate, but the company did not provide additional details.
Apple has designed a new chip that it calls the A11 Bionic chip, a six-core powerhouse that includes two high-performance cores and four high-efficiency cores. The company is also now using an Apple-designed GPU for the first time ever, just months after notifying Imagination Technologies that it would be transitioning to its own in-house GPU designs, a potentially fatal blow to the British GPU designer.
Apple is also bumping up pricing, with iPhone 8 starting at $699 (compared to the prior starting price point of $649) and iPhone 8 Plus at $799 (compared to the prior starting price point of $769). The price bumps make CEO Tim Cook's recent defensiveness over pricing even more bizarre.
iPhone 8 and 8 Plus will be available for pre-order on Sept. 15 and ship on Sept. 22.
One more thing: iPhone X
Invoking the iconic "One more thing" line, Cook introduced the iPhone X (pronounced "iPhone 10" but stylized with the Roman numeral X) as the feature presentation. In line with expectations, iPhone X includes an edge-to-edge 5.8-inch OLED display with rounded corners and a notch at the top of the display that houses the new TrueDepth camera system. That includes a flood illuminator, infrared camera, and dot projector, which are used for 3D sensing. It's essentially a miniaturized structured light 3D scanner.
iPhone X. Image source: Apple.
This paves the way for Face ID, the biometric security system that will supplant Touch ID. Apple has indeed killed off the home button in the iPhone X, focusing instead on a series of gestures to replicate familiar functionalities. Unlike competing facial recognition systems, Face ID cannot be easily fooled by a photograph, since it is using a 3D-mapping system instead of analyzing 2D images. Face ID will work with Apple Pay, so you will indeed be able to pay for things using your face. All facial data is stored and processed locally, similar to fingerprint data with Touch ID.
All the components of the TrueDepth camera system. Image source: Apple.
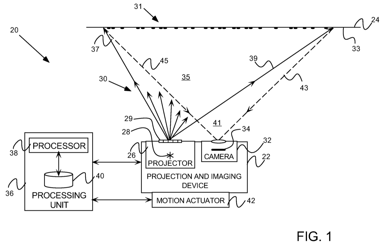
The way that it works is that the dot projector, which appears to be a VCSEL sensor, projects 30,000 infrared (IR) dots onto the user's face. The dot pattern is then scanned by the IR camera, and it determines depth and 3D shapes by analyzing deformations in the pattern. This is all done in IR, making it invisible to the human eye. Apple was granted a patent for a structured-light projector in July 2016, which illustrates the process:
Image source: U.S. Patent and Trademark Office.
Apple is extending ARKit to integrate with the TrueDepth camera system, which promises to facilitate dramatically better augmented reality (AR) experiences. The iPhone X will also support wireless charging through its glass back, and Apple introduced a new AirPower wireless charging pad that will launch next year. iPhone X starts at $999 for a 64 GB model, and bumping storage up to 256 GB boosts the cost to a whopping $1,149.
Perhaps the biggest unknown coming into the event was whether or not all those rumors of manufacturing delays were true. It appears that they were, as iPhone X won't be available for pre-order until Oct. 27, then shipping on Nov. 3. That's hard to reconcile with Apple's surprisingly strong guidance that it provided in August for its fiscal fourth quarter, which suggested that the flagship device would launch on time. iPhone X won't ship until the following quarter, so Apple must be awfully confident in the iPhone 8 and 8 Plus. That confidence might be misplaced: The iPhone X is the iPhone to buy this year.






