GoPro (NASDAQ: GPRO), the company that sells rugged cameras capable of capturing film from incredible viewpoints, recently filed more documents on its way to an IPO. With the newly published financials, it's clear that the company's future depends on selling the few variations of its one product, the Hero cameras.
Can a sustainable business be built around one product?
The current line-up of GoPro cameras. Source: GoPro.com.
Other one-trick offerings
GoPro is not the first to attempt such a business model. Besides the Pet Rock, Select Comfort (SCSS 34.62%) and Crocs (CROX +0.04%) could be said to ride the successes of single items.
Select Comfort has been known for its Sleep Number mattresses since 1987. While the company's growth is limited due to its industry and niche product line, it has posted a consistent albeit slim profit when the economy is not in a recession:
SCSS Net Income (Quarterly) data by YCharts.
A company like Select Comfort can hold on to its market and stay relevant in a variety of ways. One way is to regularly update its product line to compete and justify the premium price of its product, especially as other companies begin to offer similar mattresses at lower prices. Or Select Comfort can just acquire such competitors, like it did last year when it purchased Comfortaire for $15 million. Patents can also give a single-product company plenty of time to come up with another hit product or to revamp. Select Comfort holds 24 patents like the one below, with 23 pending.
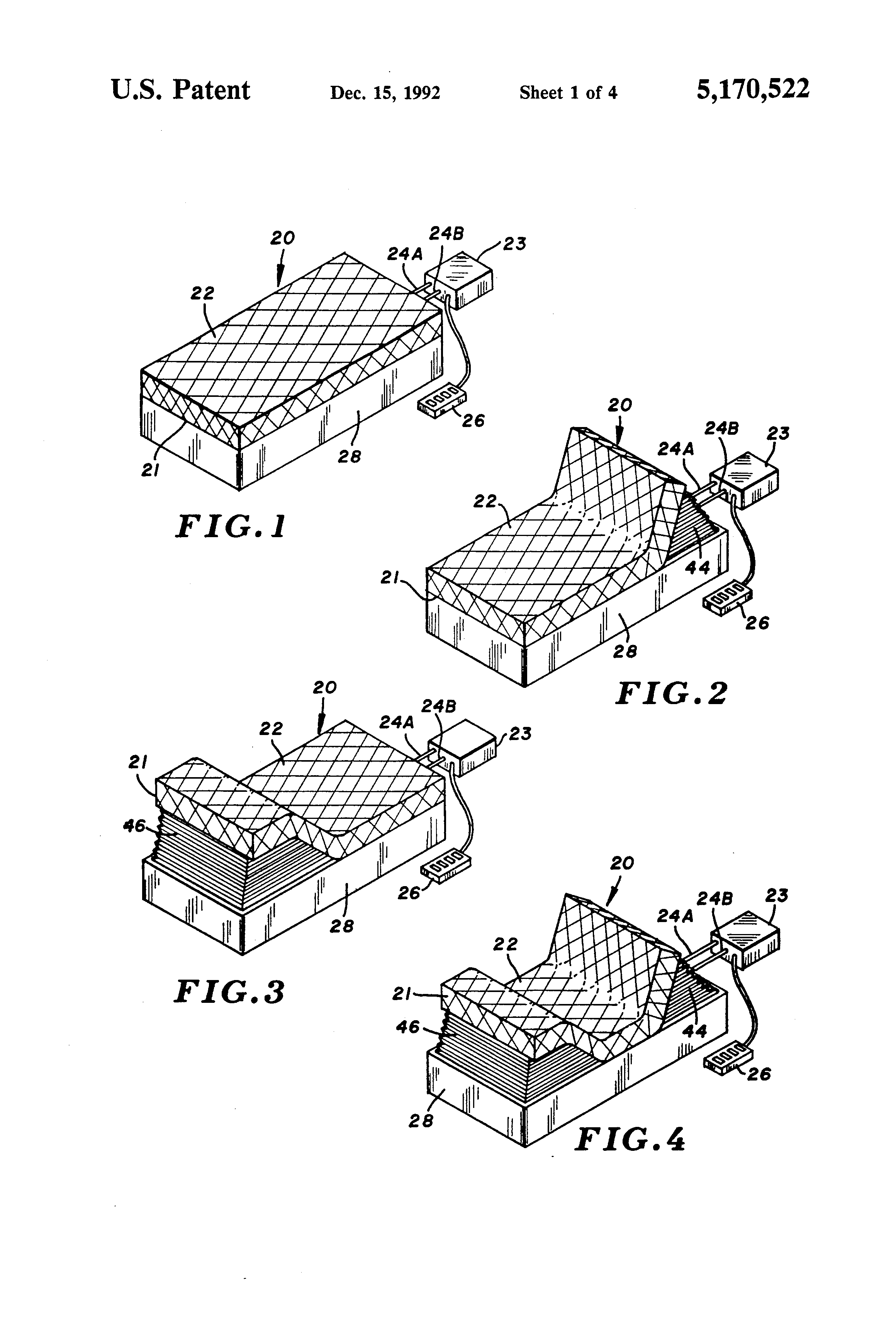
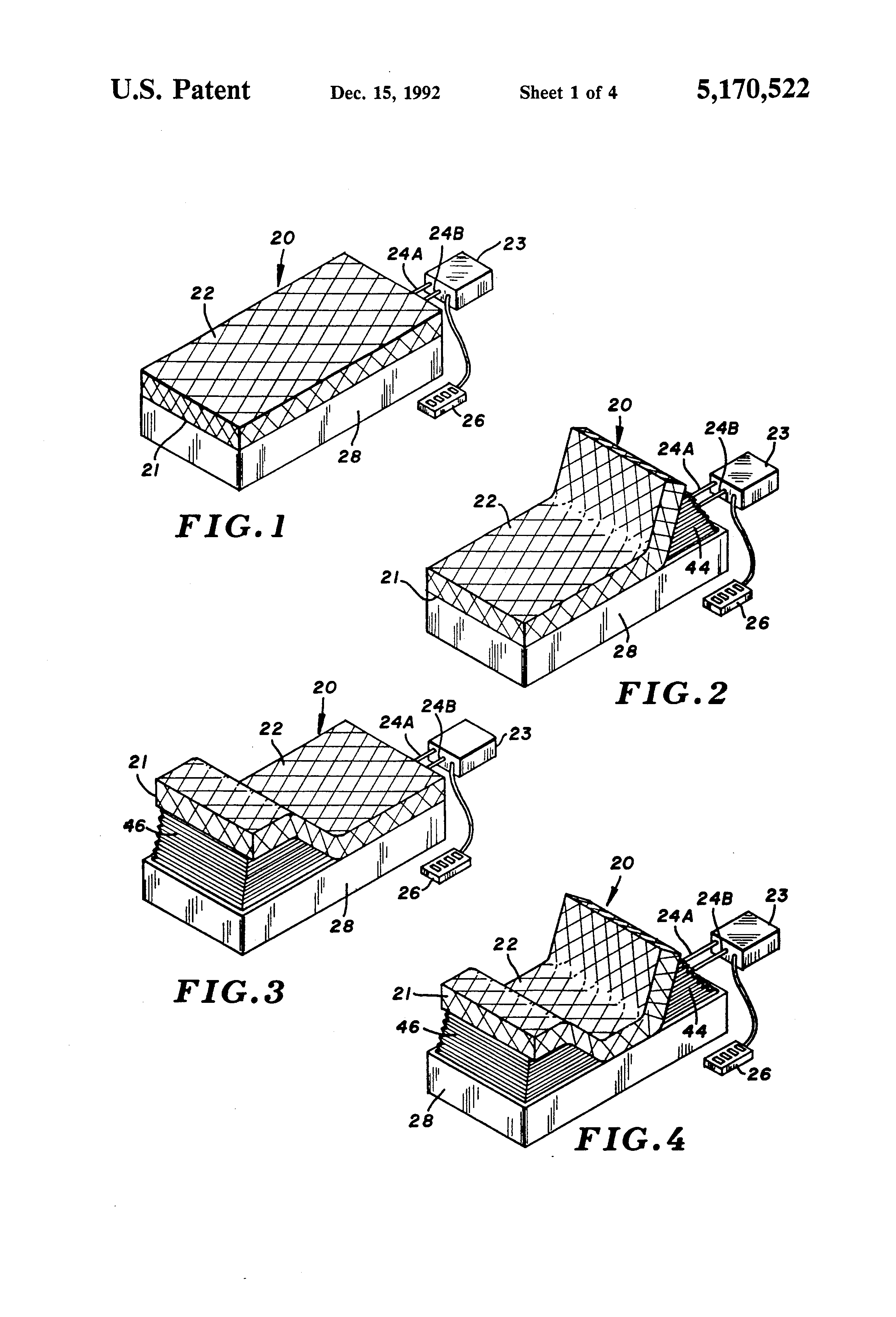
Drawings from Select Comfort's patent on an air adjustable bed. Source: USPTO.
Crocs sits on the other end of the price range from a custom mattress. The shoe company was hit hard when fashion trends changed as the recession hit. Crocs attempted to expand its product line and production but ended up with excess inventory, partly due to forays into higher fashion. As a result, it had to cut a third of its workforce in 2009, and refocused on what made the company popular: the plastic clog with holes. Such a dramatic turn points to the potential pitfalls of living off one product.
The company has since expanded its product line again, with clogs making up 42% of sales in the latest quarter versus 47% a year prior. However, net income fell to $9.1 million over the quarter, compared to $28.9 million a year prior.
Crocs wanted to diversify to be less dependent on its one product, but managing such a transition must be done carefully.
GoPro can play back the past
Single-product companies can become long-living businesses, and with GoPro's founder still leading the company and holding significant inside ownership, his incentives line up with shareholders'.
But GoPro will need to keep up its marketing and research to protect itself from knockoffs. And potential threats can swiftly turn into dangerous problems as fashions change. The introduction of revolutionary technology is accelerating: Cameras took over drawings, digital cameras killed film, and smartphones killed cheap digital cameras. GoPro has carved out its niche as the rugged option for high-quality video, but the continued convergence to a single device for everything means it must continue to provide a superior solution.






