Analysts have long speculated that Apple (AAPL +0.62%) will enter the mobile payments market. Those rumors have gained momentum in recent days on reports that Apple had struck deals with major payment processors Visa, MasterCard, and American Express, and is in talks with Nordstrom. Apple is expected to unveil a payments platform at its iPhone launch next week.
As with most of its products, Apple won't be first to market. Several mobile wallet options are available already. Most notably, Google (GOOG 0.04%) (GOOGL 0.05%) launched Google Wallet in 2011, but has had limited success. One of the biggest limiting factors is mobile carriers. AT&T (T +4.30%), Verizon (VZ +11.83%), and T-Mobile (TMUS +4.19%) have their own payments platform, Softcard (formerly Isis), and they have impeded Google's progress by blocking Google Wallet's access to the secure element in Android phones.
There are three ways Apple can overcome carriers and win mobile payments.
Apple is working with retailers
Apple already has a limited presence in retail. Some small businesses use iPads as their point-of-sale, or POS, system. A few have adopted the iBeacon to provide location-based alerts to shoppers. Winning retailers is a key to success, and it's optimal if big-name retailers accept the payment platform at launch. That's why Apple (if the rumors are true) is already in talks with companies such as Nordstrom.
But the street goes both ways. Retailers aren't going to go through the effort of overhauling their POS systems just for Apple's benefit. That's why I believe Apple is working with retailers to integrate their rewards cards into the payments platform.
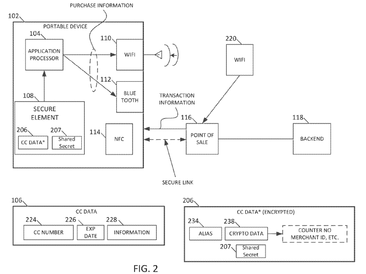
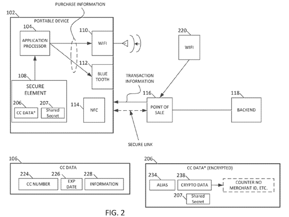
A patent filed in January detailed how Apple plans to create a secure connection using a combination of near field communication and Bluetooth or Wi-Fi. Additionally, Apple repeatedly mentioned "additional data" as part of the payments transaction. Additional data include things like coupons, special offers, receipts, store credits, and location information. These are the kind of information linked to reward cards that can be tremendously useful for retailers.

A diagram of how Apple's payment system might work. Source: U.S. Patent & Trademark Office
This strategy worked for Google. Google Wallet supports 14 loyalty programs, and is relatively widely accepted by retailers if consumers can use it.
But Google doesn't have what Apple has.
Apple's closed system
Unlike Android, iOS is a closed system, which means it only runs on the smartphones that Apple builds. As such, the tech giant can ensure that its payments platform works with all of the devices in the iOS family -- the iPhone, iPad, and potential iWatch.
It also means that carriers' claim that Google Wallet creates a security threat should be nullified by Apple's design. Apple likely designed the iPhone 5s with payments in mind, and the upcoming iPhone 6 will certainly have payment security measures if Apple is to release a payments platform next week.
Apple has work to do, however, to ensure consumers that their payment information will be secure. After the recent iCloud breach, CEO Tim Cook will have to stress that the payment information will be safe. Two-factor authentication, using Touch ID, will certainly help. During the company's first-quarter conference call, Cook highlighted that a mobile payments system was "one of the thoughts behind Touch ID."
Invalidating the security concern really only leaves carriers one option to stop Apple from succeeding in mobile payments: Drop the iPhone.
Carriers are not about to self-destruct
There's absolutely no way AT&T, Verizon, or T-Mobile is going to ditch the iPhone.
Apple commands over 42% of the U.S. smartphone market -- a number that is increasing despite concerns over falling global market share. That's a huge market for these carriers to abandon.
What's more, the evidence is pretty clear that the carriers need Apple more than Apple needs the carriers. If you look at the history of the carriers' service revenue growth when AT&T lost iPhone exclusivity and Verizon and T-Mobile added the Apple handset, you'll see the impact Apple has on these three companies.

Source: UBS via Business Insider.
Since losing iPhone exclusivity in the first quarter of 2011, AT&T service revenue growth has fallen from 8.6% to the mid-to-low-4% range. Meanwhile, Verizon saw service revenue growth accelerate significantly with the introduction of the iPhone in 2011. T-Mobile also has seen a drastic improvement in service revenue since introducing the iPhone in the second quarter of 2013.
Everything in its right place
Everything seems to be in place for Apple to succeed with payments: 800 million-plus credit cards on file through iTunes, partnerships with credit card companies and retailers, necessary and widespread hardware, and leverage over the only competition that can stand in its way. So while wireless carriers technically could stop Apple from succeeding with a mobile payments platform, it would be foolish (with a lower case f) for them to try.











